2019年03月21日 zorzoスピーカーの続編(2019MJオーディオフェス関連) 今日午後2時過ぎにzorzo太田氏からzorzo関連情報がアップされたとのお知らせがありました。AR system lab.のネット情報で、HOT NEWSとして『MJオーディオフェスティバル2019』で詳しく解説してあります。是非、お読み下さい。 アメログにもアップしています。 タグ :#オーディオ
2019年03月18日 MJフェス、zorzo発表会の実録CDを貰う 先程、zorzo太田氏から発表時の模様を記録した実録CDが届き、そのCDを聴きながらこのブログを書いています。 zorzoスピーカーについては、当ブログ書庫のzorzo(ゾルゾ)スピーカーを参照下さい。 このブログは、取り敢えずの速報で何かコメントできることがありましたら改めて報告したいと思います。 タグ :#オーディオ
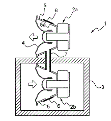
2017年09月22日 zorzoスピーカー(2) zorzoスピーカーは、MJオーディオフェス翌日(3月13日)にOさんに同行してzorzo試聴室で聞かせて頂きその素晴らしさは、「zorzoスピーカー(1) ミニミニ試聴会」に述べている通りです。 今回、Oさんの計らいでzorzoユニットをお借りしましたのでご紹介し、更には試聴まで行うつもりです。 zorzoスピーカーの構造を、簡単に述べておきます。 要は、ユニットを二つ(2aと2b)用意し両者の背圧は細いパイプ(7)で繋ぎ、ユニットは他方の位相を180度ずらしって結線する。 こうすることにより、所謂スピーカーにPush Pull動作をさせることにより過渡応答に優れたスピーカーを作ろうとするものです。 ポイントは、背圧が掛かる空間の容積を極力小さくして且つエアー漏れしないことです。 今回は、4つのモジュールをお借りしました。 外観は、以下の通りです。 商品化されたものは、陶器製のエンクロージャーになります。 [関連出願] 実登3191549 特開2007-235727 特開2012-156979 特開2015-207985 特許第5719718 タグ :#オーディオ
2017年03月27日 zorzoの意味 zorzoについての意味は下記の通りです。 (Oさんからのメールより抜粋) ・zorzoの意味はイタリアのヴェネチアルネッサンスの画家ジョルジョーネのヴェネチア方言の呼び方です。 彼は西洋における最も東洋的な画家であり、ゾルゾのマークも彼の絵から取られた、もともと中国の瑞花紋です。 また彼はカステラフランコの出身ですが、その地はロンヴァルディアにあり、ロンゴヴァルドはゲルマン人の住む地域でした。 つまり民族はドイツ系、言葉はイタリア語となります。 そのため二つの文化都市文化(城壁に囲まれた文化)と非都市文化(自然に対して隔てを作らない)の融合が見られます。 つまりジョルジョーネにおいては東西南北の文化が融合しているわけです。 これに幾分似た現象がかつてケシの産地であった、黄金のトライアングルと呼ばれた北部タイにも見られます。 山田さんの専門分野、西洋および東洋文化に関する造詣の深さがにじみ出ていると感じました。 タグ :#オーディオ
2017年03月17日 zorzoスピーカーの問合せ先 試聴の申込は、ゾルゾ(電話 03-3423-6270)宛に連絡下さいとのことです。 下記の音源は、モノラルLPから半速スピードで拘りのアーム・カードリッジでピックアップしノーマルスピードに変換した物です。 イコライジングは音を聞きながら選択したそうです。 zorzoのマークが付いた音源は、非常にクォリティー高いです。試聴に伺う前には、先ずこれをお聞き下さいとのことです。 marvelMono:ⅧGoehr/Tchaikovsky/Serenade for Strings ( improved equalizer) marvelMono:ⅧWalter Goehr/Ravel/Mother Goose TheearliestLp:0Starker/Kodaly/Cello Sonata タグ :#オーディオ